Seite 1 von 1
Verlängerung Tachokabel
Verfasst: 18.09.21 - 11:47
von BRB
Kann mir bitte mal jemand helfen:
Ich möchte den originalen Tacho nach oben in den Tower verlegen. Aber das Tachokabel ist zu kurz.
Irgendwo im www hab ich mal eine Kabelverlängerung gesehen, finde die aber nicht mehr. Alternativ wäre die Angabe, welche Stecker ich kaufen muss um so eine Verlängerung selber zu bauen. Aus dem Schaltplan geht nur die Bezeichnung des bordseitigen Tachosteckers hervor. Nicht die des Steckers, der am Tacho dran ist.
Please help!
Gruß-BRB
Re: Verlängerung Tachokabel
Verfasst: 18.09.21 - 15:46
von wgary
ich würde das bestehende Kabel durchtrennen und verlängern, dann brauchst keine zusätzlichen Stecker.
Du kannst natürlich dazwischen auch Steckverbindungen machen, dann kannst jeden passenden Vielfachstecker nehmen. Dann ist der Rückbau einfach, weil du nur die Verlängerung rausklippen musst.
mfg Wolfgang
Re: Verlängerung Tachokabel
Verfasst: 18.09.21 - 20:51
von BRB
wgary hat geschrieben: ↑18.09.21 - 15:46
ich würde das bestehende Kabel durchtrennen und verlängern, dann brauchst keine zusätzlichen Stecker.
Du kannst natürlich dazwischen auch Steckverbindungen machen, dann kannst jeden passenden Vielfachstecker nehmen. Dann ist der Rückbau einfach, weil du nur die Verlängerung rausklippen musst.
mfg Wolfgang
Das würde ich als letzte Lösung auch machen.
Ist aber plump und enthält ausreichend Möglichkeiten zur artgerechten Zucht von Kabelwürmern.
Eleganter wäre es mit einer einfachen Verlängerung.
Menno, alles wegen so einem fehlenden schexß Stegggaaaa
Gruß-BRB
Re: Verlängerung Tachokabel
Verfasst: 24.09.21 - 19:36
von BRB
Es gibt diesen drecks Stecker echt nirgendswo zu kaufen
Hab jetzt wirklich das Kabel getrennt und eine Verlängerung eingcrimpt. Bei 8x 0,25er Adern eine schöne Fummelei.
Aber Wurscht...das Cockpit ist jetzt halbwegs fertig!
Gruß-BRB

- 2DFDF5A1-AEE7-434D-9B98-1C8438F2E251.jpeg (2.34 MiB) 2036 mal betrachtet
Re: Verlängerung Tachokabel
Verfasst: 27.09.21 - 20:24
von Bammel
was isn das für ein Phone? Blackview????
Re: Verlängerung Tachokabel
Verfasst: 27.09.21 - 20:42
von BRB
Bammel hat geschrieben: ↑27.09.21 - 20:24
was isn das für ein Phone? Blackview????
Yessss
BV6100
Gruß-BRB
Re: Verlängerung Tachokabel
Verfasst: 27.09.21 - 20:45
von BRB
Bin übrigens gestern mit dem Cumpan 100km unterwegs gewesen. Gelegentlich hat die Ganganzeige rumgezickt.
Ich werde das Geberkabel neu verlegen müssen. Scheint zu dicht an den Kerzensteckern/ Zündspulen zu liegen.
Gruß-BRB
Re: Verlängerung Tachokabel
Verfasst: 27.09.21 - 20:48
von BRB
Frage/Bitte an die Moderation:
Kann das Geschwurbel zum Berotec Cumpan mal einen eigenen Ordner bekommen?
Ich denke, das Teil ist es wert!
Gruß-BRB
Re: Verlängerung Tachokabel
Verfasst: 30.09.21 - 11:49
von bastox
Servus,
die Stecker kannst du kaufen, hab auch ewig gesucht, habe diese an meine LED Blinker gemacht, weil ich den ori Kabelbaum nicht verschandeln wollte.
Ich habe meine glaube ich auf Aliexpress gefunden...
Schau mal noch JST JWPF Steckern ;)
Re: Verlängerung Tachokabel
Verfasst: 30.09.21 - 14:25
von BRB
bastox hat geschrieben: ↑30.09.21 - 11:49
Servus,
die Stecker kannst du kaufen, hab auch ewig gesucht, habe diese an meine LED Blinker gemacht, weil ich den ori Kabelbaum nicht verschandeln wollte.
Ich habe meine glaube ich auf Aliexpress gefunden...
Schau mal noch JST JWPF Steckern ;)
Nö,
JST/JWPF ist für Blinker.
https://de.rs-online.com/web/p/steckerg ... r/8201302/
Der Tachostecker ist völlig anders.
Gruß-BRB
Re: Verlängerung Tachokabel
Verfasst: 30.09.21 - 15:48
von El_heinzo
Hattest du mal im Husqvarna Stecker Katalog geschaut?

- E81C935A-9A43-4D0B-BAC2-6284D00E7E36.png (416.63 KiB) 1946 mal betrachtet
Re: Verlängerung Tachokabel
Verfasst: 30.09.21 - 18:44
von BRB
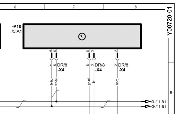
Ja,
das bordseitige Teil der Steckerkombi nennt sich DR8.
Das tachoseitige Teil ist nicht bezeichnet. Und ich hab im Steckerkatalog zum DR8 kein Gegenstück gefunden.
Das selbe Prob habe ich mit dem Stecker für's SLS-Ventil.

- Stecker Tacho.JPG (30.32 KiB) 1930 mal betrachtet
Da gibt es noch einen 8-fach Gegenstecker:

- Steck1.JPG (17.94 KiB) 1927 mal betrachtet
Der sieht aber nicht so aus, als wenn er hierzu passen würde:

- Steck2.JPG (18.18 KiB) 1924 mal betrachtet
Gruß-BRB
Re: Verlängerung Tachokabel
Verfasst: 01.10.21 - 14:45
von bastox
Ah okay, mein Fehler... Bei dem Tacho an meiner FE sinds die gleichen Stecker... zwei- und dreipolig...
https://enduro365.de/media/image/produc ... 1-14~2.jpg
Dann ist wohl bei der 701 n anderer Stecker dran...
